
■脆弱性診断ポータルの機能説明
従来の脆弱性診断サービスでは、PDFなど単一のファイルにて診断結果が納品されていました。そのため、診断結果のデータが再利用できず、過去の診断結果と比較したり、脆弱性の対応状況を把握することが極めて困難でした。
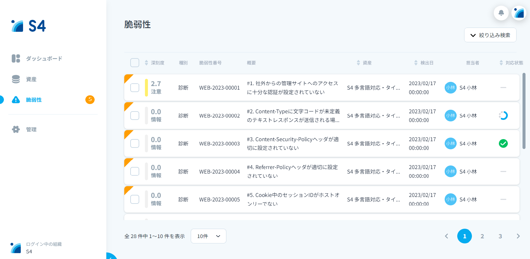
S4は「面倒なことを簡単に、複雑なことをシンプルに」をコンセプトに、誰でも、すぐに、簡単に、セキュリティ対策が始められるセキュリティ・マネジメント・システムです。今回、リリースした脆弱性診断ポータルの機能を活用することで、すでにリリースされている脆弱性管理システムと同様に、すべての脆弱性情報と資産情報の紐づけや、脆弱性の対応状況を一元管理することが可能となります。


■S4資料ライブラリを公開
脆弱性診断ポータルの機能をリリースに併せて、S4に対する脆弱性診断の結果を題材に、従来の脆弱性診断との違いを体験できる資料ライブラリを公開いたしました。
資料ライブラリでは、以下をご覧いただくことができます。
-
脆弱性診断実施予定一覧
-
脆弱性診断設計書
-
脆弱性診断報告書
-
S4デモサイト/デモサイトは 脆弱性一覧、脆弱性詳細 のみ閲覧できます
■脆弱性診断ポータルの開発背景
これまでのS4に関するPRでは、我々のビジョンや目指す世界感など「S4の持つ意味」に焦点を当てて参りました。本PRでは改めて「S4の機能」に焦点を当てて、すべての方にS4を体験していただける資料ライブラリを公開いたしました。
クラフはホワイトハッカーのスキルを徹底的に分解し、標準化することで属人性による品質のバラつきを排除し、仕組化することで「高品質・低価格・短納期」の脆弱性診断を実現してきました。そして、多くのお客様にご満足いただき、繰り返し脆弱性診断をご依頼をいただく中で、年々蓄積される診断結果の再利用や対応状況の管理という、新たなセキュリティの課題についてもご相談をいただく機会が増えて参りました。
S4は「誰の手にもセキュリティがいきわたる社会をつくる」と同時に、セキュリティの「面倒なことを簡単に、複雑なことをシンプルに」する、セキュリティ・マネジメント・システムです。
S4の脆弱性診断ポータルが、脆弱性診断に取り組むすべての人にとって、役に立つサービスであることを目指しています。
クラフは今後も、セキュリティにまつわる「人・技術・お金」の問題を解決し、セキュリティの格差を解消することで、サプライチェーンリスクに代表されるセキュリティの社会課題解決に本気で向き合って参ります。
■S4に対する脆弱性診断概要
-
Webアプリケーション診断(ゴールドプラン)https://www.shiftsecurity.jp/web/
-
検査基準:ASVS v4
-
検査項目数:123項目
■株式会社クラフについて
社 名:株式会社クラフ(https://kraf.jp/)
設 立:2017年11月
資本金:30百万円(資本準備金含む)グループ会社:株式会社SHIFT(東証プライム市場上場)、株式会社SHIFT SECURITY他

